Denne siden bruker informasjonskapsler

Ved å bruke denne siden godtar du vår bruk av informasjonskapsler.

Beslagteknikk AS
  • Garderoberør oval  3m krom
  • Garderoberør oval  3m krom
  • Garderoberør oval  3m krom
    4303502

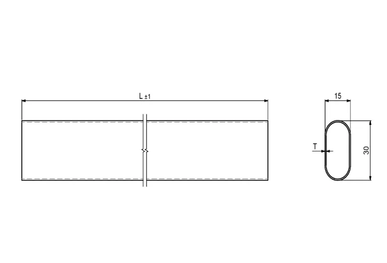
    Garderoberør oval 3m krom

    Garderoberør Oval krom. Prisen er per meter.

    NB! Selges kun i hele lengder på 3 meter. (Velg 3 enheter ved bestilling)